产品目录
液体涡轮流量计
液体流量计
水流量计
油流量计
气体涡轮流量计
椭圆齿轮流量计
电磁流量计
涡街流量计
蒸汽流量计
孔板流量计
旋进旋涡流量计
热式气体质量流量计
转子流量计
浮子流量计
靶式流量计
气体流量计
超声波流量计
磁翻板液位计
浮子液位计
浮球液位计
玻璃管液位计
雷达液位计
超声波液位计
投入式液位计
压力变送器
差压变送器
液位变送器
温度变送器
热电偶
热电阻
双金属温度计
联系我们
- 金湖凯铭仪表有限公司
- 联系电话:15195518515
- 在线客服:1464856260
- 电话:0517-86801009
- 传真号码:0517-86801007
- 邮箱:1464856260@qq.com
- 网址:http://m.bhdmvez.cn
- 地址:江苏省金湖县理士大道61号
雷达液位计产品概述
RD系列传感器是26G高频雷达式物位测量仪表,测量*大距离可达70米。天线被进一步优化处理,新型快速的微处理器可以进行更高速率的信号分析处理,使得仪表可以用于反应釜、固体料仓等一些复杂的测量条件。
雷达液位计原理
雷达物位天线发射较窄的微波脉冲,经天线向下传输。微波接触到被测介质表面后被反射回来再次被天线系统接收,将信号传输给电子线路部分自动转换成物位信号(因为微波传播速度*快,电磁波到达目标并经反射返回接收器这一来回所用的时间几乎是瞬间的)。
测量的基准面是:螺纹底面或法兰的密封面。
注:使用雷达物位计时,务必保证*高料位不能进入测量盲区(图中D所示区域)。
雷达物位计特点
1.天线尺寸小,便于安装;非接触雷达,无磨损,无污染。
2.几乎不受腐蚀、泡沫影响;几乎不受大气中水蒸气、温度和压力变化影响。
3.严重粉尘环境对高频物位计工作影响不大。
4.波长更短,对在倾斜的固体表面有更好的反射。
5.波束角小,能量集中,增强了回波能力的同时又有利于避开干扰物。
6.测量盲区更小,对于小罐测量也会取得良好的效果。
7.高信噪比,即使在波动的情况下也能获得更优的性能。
8.高频率,是测量固体和低介电常数介质的*佳选择。
雷达液位计技术参数
雷达液位计仪表介绍
雷达液位计安装要求
安装指导
安装在直径的1/4处或1/6处。
注:距离罐壁*小距离应为罐高的1/10。
注:①基准面 ②容器中央或对称轴
锥形罐顶部平面,可装在罐顶正中间,可保证测量到锥形底部。
有料堆时天线要垂直对准料面。若料面不平,堆角大必须使用万向法兰来调整喇叭角度使喇叭尽量对准料面 。
(由于倾斜的固体表面会造成回波衰减,甚至丢失信号的问题)
典型的错误安装:
锥形罐不能安装在入料口的上方。
同时注意:室外安装时应采取遮阳、防雨措施。
①正确 ②错误
仪表不能安装在拱形或圆形罐顶中间。除了会产生间接回波还会受到多次回波的影响。多次回波可能比真正回波的信号阀值还大,因为通过顶部可集中多个回波。所以不能安装在中心位置。
①正确 ②错误
当罐中有障碍物影响测量时,要加装反射板才能正常测量。
①正确 ②错误
接管高度要求: 必须保证天线伸入到罐里至少10mm的距离。
雷达液位计电气连接
供电电压
(4~20) mA/HART(两线制)供电电源和输出电流信号共用一根两芯屏蔽电缆线。具体供电电压范围参见技术数据。对于本安型须在供电电源与仪表之间加一个安全栅。
(4~20) mA/HART(四线制)供电电源和电流信号分开,各自分别使用一根电缆线。具体供电电压范围参见技术数据。
RS485/Modbus 供电电源和Modbus信号线分开各自分别使用一根屏蔽电缆线,具体供电电压范围参见技术数据。
雷达液位计连接方式
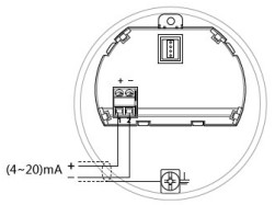
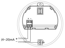
24V两线制接线图如下:
220V四线制接线如下图:
24V RS485/Modbus接线图如下:
安全指导
请遵守当地电气安装规程的要求!
请遵守当地对人员健康和安全的规程要求。所有对仪表电气部件的操作必须由经过正规培训的专业人员完成。
请检查仪表的铭*确保产品规格符合您的要求。请确保供电电压与仪表铭*上的要求一致。
雷达液位计防护等级
本仪表完全满足防护等级IP66/67的要求,请确保电缆密封头的防水性。如下图:
如何确保安装满足IP67的要求:
请确保密封头未受损。
请确保电缆未受损。
请确保所使用的电缆符合电气连接规范的要求。
在进入电气接口前,将电缆向下弯曲,以确保水不会流入壳体,见①
请拧紧电缆密封头,见②
请将未使用的电气接口用盲堵堵紧,见③
雷达液位计结构尺寸(单位:mm)
表壳
外观尺寸
RD704
RD705
RD706
RD707
RD708
RD709
法兰选型
*新资讯
- 雷达液位计在河道中的应用
- 雷达液位计波束角怎么修改
- 雷达液位计测量不准的因素与处理
- 雷达液位计技术性能说明
- 26g和80g雷达液位计怎么区分
- 导波雷达液位计和雷达物位计的区别
- 雷达液位计的特点有哪些
- 雷达液位计传感器怎么接线
- 雷达液位计如何选择量程范围
- 雷达液位计天线的作用及适用工况
- 雷达液位计现场调试方法
- 雷达液位计的工作原理及特点
- 雾气对雷达液位计测量的影响
- 什么是雷达液位计盲区
- 雷达液位计在储油罐上的应用
- 雷达液位计的天线类型有哪些
- 雷达液位计的优缺点有哪些
- 雷达液位计的正确安装方法
- 雷达液位计的安装位置要求
- 雷达液位计如何安装使用
- 雷达液位计对介质的要求
- 雷达液位计常见故障与处理
- 雷达液位计的种类特点和用途
- 雷达液位计的维护与保养
- 影响雷达液位计测量因素有哪些
- 如何正确的选择雷达液位计
- 雷达液位计与超声波的区别
- 雷达液位计结构组成及原理




