产品目录
液体涡轮流量计
液体流量计
水流量计
油流量计
气体涡轮流量计
椭圆齿轮流量计
电磁流量计
涡街流量计
蒸汽流量计
孔板流量计
旋进旋涡流量计
热式气体质量流量计
转子流量计
浮子流量计
靶式流量计
气体流量计
超声波流量计
磁翻板液位计
浮子液位计
浮球液位计
玻璃管液位计
雷达液位计
超声波液位计
投入式液位计
压力变送器
差压变送器
液位变送器
温度变送器
热电偶
热电阻
双金属温度计
推荐产品
联系我们
- 金湖凯铭仪表有限公司
- 联系电话:15195518515
- 在线客服:1464856260
- 电话:0517-86801009
- 传真号码:0517-86801007
- 邮箱:1464856260@qq.com
- 网址:http://m.bhdmvez.cn
- 地址:江苏省金湖县理士大道61号
涡轮流量计安装在什么位置
发布时间:2022-05-27 08:59:43??点击次数:3765次
涡轮流量计安装条件及位置
1、环境要求
(1)传感器安装在室外时,应避阳光直射和防雨淋措施
(2)安装前,管道需要吹扫
2、安装位置要求
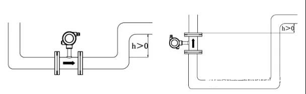
(1)管道必须完全充满液体。重要的是,在任何时候,保持管道内完全充满液体,否则流量显示会受到影响,可能会导致测量误差。

(2)避免气泡。如果有气泡进入测量管,流量显示可能会受到影响,可能会导致测量误差。

3、直管段要求
(1)一般情况
(2)90°弯头

(3)同一平面上两个90°弯头
(4)不同平面上两个90°弯头

(5)缩管
(6)扩管

(7)全开阀门
(8)半开阀门

(9)若上游侧阻流件情况不明确,一般推荐上游直管段长度不小于20D,下游直管段长度不小于5D
(10)如安装控件不能满足上述要求,可在阻流件与传感器之间装整流器。
上一篇:涡轮流量计安装条件与环境要求下一篇:液体涡轮流量计设置方法
相关资讯
- 气体涡轮流量计安装直管段要求
- 气体涡轮流量计的结构与工作原理
- 气体涡轮流量计的产品特点和适用范围
- 气体涡轮流量计选型指南与外形尺寸
- 涡轮流量计的常见故障及排除
- 涡轮流量表怎么调节
- 涡轮流量计安装直管段要求
- 涡轮流量计的适用场合与量程范围
- 涡轮流量计由什么组成
- 涡轮流量计的工作原理
- 压力对涡轮流量计精度的影响
- 液体涡轮流量计使用常见问题
- 液体涡轮流量计的使用场合
- 液体涡轮流量计怎么接电
- 涡轮流量计的使用范围
- 涡轮流量计安装条件与环境要求
- 涡轮流量计安装在什么位置
- 液体涡轮流量计设置方法
- 气体涡轮流量计使用环境
- 气体涡轮流量计使用注意事项
- 气体涡轮流量计怎么清洗
- 气体涡轮流量计适用范围
- 气体涡轮流量计为什么要加油
- 气体涡轮流量计波动大解决办法
- 气体涡轮流量计安装距离要求
- 气体涡轮流量计安装注意事项
- 气体涡轮流量计应用范围
- 气体涡轮流量计常见故障有哪些
- 提高气体涡轮流量计精度的方法
- 气体涡轮流量计精度等级

